二段ラックについて
◆詳細
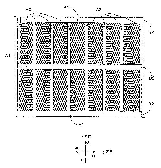
図面 【実登3226071】





「積みやすく、運びやすく、安心。」
現場から生まれたオリジナル輸送ラック
当社では、日々のトラック輸送の中で生まれた「こんなラックが欲しい」という声をかたちにした、オリジナルの**貨物輸送用ラック(実用新案登録第3226071号)**を使用しています。5トン級の重量貨物にも対応できるしっかりとした構造でありながら、ウイングトラックの左右どちら側からでもフォークリフトで積み降ろしができるのが大きな特長です。
「もっとたくさん積みたい」「もっと安全に」「もっとスムーズに」──
その3つを両立するために生まれたラックです。
◆実用新案技術評価(評価6)を取得しました
(新規性が認められました)
本ラック(実用新案登録第3226071号)について、特許庁発行の実用新案技術評価書において、対象請求項に関し評価6の評価を取得しました。
これは、調査の結果として新規性が認められたことを示す評価です。
※実用新案技術評価書は作成時点の調査に基づく評価であり、権利範囲や侵害の有無を判断するものではありません。
“トラック1台あたりの積載量アップ”と“現場の安心感”を同時に実現します。
トラック走行時の「揺れ」や「ブレーキ・加速」による荷重変動も見据えた設計で、
現場のドライバーやフォークリフトオペレーターが安心して使用できる自社の現場で実際に試しながら細かい改良を重ねてきたラックです。
筋交いなしで、左右どちら側からでも積みやすい
重量物用のラックによくあるのが、横揺れ対策として側面に入っている筋交い(斜材)。
当社ラックは、側面に筋交いを入れなくても十分な剛性が出る構造にすることで、
ウイングトラックの左右両側から、フォークリフトをまっすぐ差し込んで荷役が可能です。
現場の状況に応じて、左側から積む便右側から積む便両側を使って素早く積み降ろしする便など、柔軟な運用ができるのが大きな強みです。
フォークリフト3回で、上下ほぼ2倍の積載空間
「もっと積みたいけど、作業回数が増えるのは困る」
──そんな現場の声に応えて、ラックの高さや寸法をフォークリフト3回の積込みで完結するように設計しています。
エキスパンドメタル床で「軽く」「見える」ラック
床材には、エキスパンドメタルを採用しています。
これにより、従来の鋼板床よりラック自体が軽くなる床面の“網目”から、下段の貨物の有無や状態を目で確認できるというメリットがあります。下から見上げたときに、すぐに確認できるため、積み忘れ・積み残し防止や、走行中の荷崩れ対策にもつながります。“見える安心”をプラスしたラックです。
◆実際の現場での使われ方(例)
この輸送用ラックは、当社の輸送の現場で実際に運用しており、大量受注時に車両がなどの面で長期的な実績と効果を上げています。
現場スタッフからも、「左右どちらからでも積める」「下段が見えるので安心して搭載できる」といった声が上がっています。
◆お問い合わせ
当社では、このオリジナル輸送ラックを活用しながら、
お客様の貨物や輸送条件に合わせた積載方法や運用プランのご提案も行っています。
「こんな荷物は載せられるか」「うちの荷量でも効果があるか」など、
ご興味がありましたら、どうぞお気軽にお問い合わせください。





